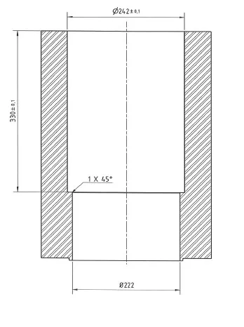
Material har vi hemma redan så det kan skickas ASAP. Råämne är Ø374 L480 mm.
Vill du få förfrågningar inom det här området –uppgradera till Qimtek Premiumför att bevaka och komma åt underlag och kontaktuppgifter.Läs mer häreller anmäl ditt intresse nedan. Det går även bra att ringa oss på0651-30 08 00.